来源: 新浪科技综合
本文来自cnBeta
体温感应技术被认为是Apple Watch Series 8在下周苹果“Far out”活动中首次亮相时提供的头条升级。由于来自可靠来源的各种报告,人体对体温健康功能预计如何运作有了相当好的了解。

苹果分析师郭明錤等消息人士长期以来一直在传Apple Watch的体温监测功能,但在过去一年里,围绕该功能最终在今年晚些时候的Apple Watch Series 8上亮相的传言已经清晰化。与一些观察家希望能检查他们的体温或在他们发烧时得到通知的希望相反,看起来该功能在发布时可能会受到很大限制。
来自Mark Gurman的报告称,体温传感器主要是为了帮助生育计划、让女性了解她们的排卵周期并可用于改善跟踪睡眠时的模式检测。苹果在watchOS 9中大大加强了Apple Watch的睡眠追踪能力,因此今年在硬件的帮助下进一步改进这一领域似乎是合理的。

据说苹果还计划启用体温传感器以检测用户何时发烧,但似乎不太可能在Apple Watch Series 8推出时就提供这一功能。Gurman认为,在未来更进一步,Apple Watch可以确定用户的体温是否高于正常水平,但仍不太可能显示出准确的测量值。总而言之,这表明Apple Watch Series 8附带的体温传感器可能与一些用户所期望的不太一样。
据郭明錤披露称,苹果原本打算在Apple Watch Series 7型号中提供体温测量功能,但在去年设备进入工程验证测试(EVT)阶段前,该公司开发的体温算法未能满足要求,因此该计划遭到了搁置。
苹果遇到的跟体温测量有关的问题据称与皮肤温度根据环境迅速变化有关,由于智能手表不能用硬件监测核心体温,该功能在很大程度上依赖于能产生准确结果的算法。这很可能解释了为什么今年晚些时候推出的Series时,Apple Watch的体温感应能力可能会受到限制。
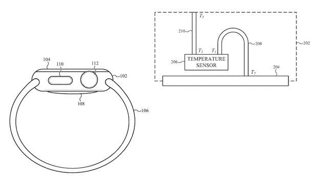
上月,美国专利和商标局授予苹果一项跟Apple Watch明显相关的温度感应系统专利--包括一个“高精度和高准确度的绝对温度传感器”。苹果的专利保护的是一种电子设备外壳,它包围着一个温度传感系统--包括一个温度传感器和一个温差探针。

该系统通过计算探针两端的差异来工作。一端接触要测量的表面,另一端则连接到温度传感器。然后探头两端的电压三角可以跟温差测量相关联。
目前还不清楚专利中概述的确切技术是否与预计将在Apple Watch Series 8中使用的体温传感器有关。也有可能是苹果计划使用来自Rockley Photonics的专利系统。该公司是一家英国健康技术初创公司,其创建了一个为可穿戴设备设计的传感器系统--包括一个核心体温传感器。

去年,据透露,苹果是Rockley Photonics的最大客户。Rockley的财务文件称,在过去两年中,苹果占其收入的大部分,而且它跟该公司有一个持续的供应和开发协议,根据该协议,它预计将继续严重依赖苹果获得大部分收入。Rockley此前曾表示,它预计其技术将在2022年用于消费类智能手表,这可能跟Apple Watch Series 8的推出相一致。
除了体温传感器,Apple Watch Series 8预计将采用S8芯片和低功耗模式来延长电池寿命。该设备极有可能在9月7日的苹果发布会上亮相。
红包分享
钱包管理

